Sunday April 2026

হটলাইন

সেবা এবং ধাপ

নং শিরোনাম সেবার ধাপ কার্যকলাপ
  
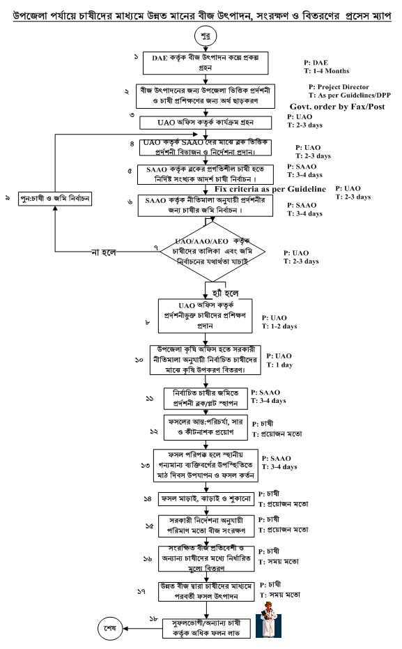
উপজেলা পর্যায়ে চাষীদের মাধ্যমে উন্নত মানের বীজ উৎপাদন , সংরক্ষণ ও বিতরণের প্রসেস ম্যাপ দেখুন
উপজেলা পর্যায়ে কৃষি প্রযুক্তি সংক্রান্ত প্রশিক্ষণের প্রসেস ম্যাপ দেখুন
উপজেলা পর্যায়ে উন্নত/নতুন কৃষি প্রযুক্তি /ফসলের জাত সম্প্রসারণের প্রসেস ম্যাপ দেখুন
উপজেলা পর্যায়ে সার ডিলার নিয়োগ দেখুন
দেখছেন ১ থেকে ৪ পর্যন্ত, মোট ৪ এন্ট্রি

এক্সেসিবিলিটি

স্ক্রিন রিডার ডাউনলোড করুন